Ford patents trailer sideswipe avoidance know-how, goals to make towing safer

Ford at present provides blind-spot monitoring for trailers, however the automaker additionally just lately filed a patent software for tech that would improve the margin of security whereas towing.

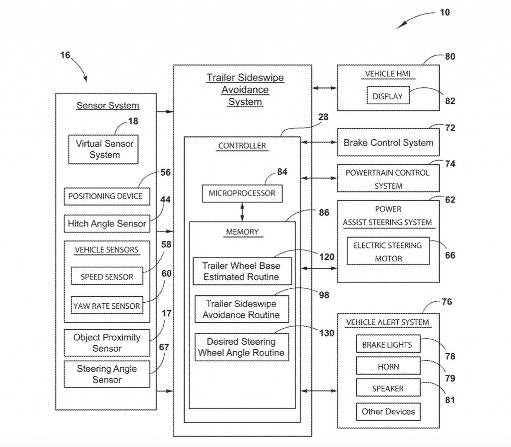
Filed with the USA Patent and Trademark Workplace (USPTO), the applying describes trailer sideswipe avoidance know-how that may use sensors to find out if a trailer is in peril of colliding with obstacles and set off security programs to reply.

Sensors would measure issues like pace, yaw fee, steering angle, and proximity to close by objects. This data can be fed to the sideswipe avoidance system, which might additionally pay attention to the trailer’s wheelbase, based on the applying.

Ford trailer sideswipe avoidance system patent image

Ford trailer sideswipe avoidance system patent picture

If a sideswipe is deemed to be imminent, an onboard controller can use the throttle, steering, or brakes to take evasive motion, the applying mentioned. That would embrace decreasing steering angle, for instance.

Whereas it might make towing safer, it is unclear if Ford really plans to place this technique into manufacturing. A patent software isn’t a product plan, in any case. Nonetheless, with its reliance on sensors and different tech already constructed into new autos as a part of numerous driver-assist programs, the sideswipe avoidance system does at the very least look like it could possibly be built-in right into a pickup truck or SUV with out an excessive amount of hassle.

Ford has filed numerous truck-related patent purposes just lately, together with a trisected tailgate design, tailgating options for the electrical F-150 Lightning’s frunk, and built-in sand ladders for desert off-roading. Maybe certainly one of these concepts will make right into a manufacturing automobile finally.

Leave a Comment